Menerapkan Sketsa Gambar Benda Kerja 3D Sesuai Aturan Proyeksi Piktorial (KD 5)
Pada kesempatan ini kita kan membahas tentang proyeksi gambar. sebelumnya kita
harus mengenal dan mengerti apa itu yang dimaksud dengan " Proyeksi". Proyeksi
adalah gambar bayangan suatu benda yang berasal dari benda atau imajiner yang
dituangkan dalam bidang gambar menurut cara-cara tertentu.
Sebuah benda bila dilihat dari berbagai sisi ( depan, belakang, kanan, kiri,
atas dan bawah ) akan memiliki penampakan yang berbeda-beda. Nah gambar
penampakan bayangan ini yang akan digambarkan dalam bidang gambar menurut
ketentuan dan teknik-teknik yang berlaku. Mari sekarang kita membahas
tentang proyeksi.
|
| Pembagian Proyeksi |
Proyeksi piktorial adalah cara penyajian suatu gambar tiga dibensi terhadap
bidang dua dimensi. Sedangkan proyeksi ortogonal merupakan cara pemproyeksian
yang bidang proyeksinya mempunyai sudut tegak lurus terhdap proyektornya.
Sementara proyeksi dari segi memandangnya dibagi menjadi dua yaitu proyeksi
eropa dan amerika. Pada kesempatan ini mari kita bahas dahulu tentang proyeksi
Piktorial.
Untuk menampilkan gambar-gambar tiga dimensi pada sebuah bidang dua dimensi.
dapat dilakukan dengan beberapa macam cara proyeksi sesuai dengan aturan
menggambar. Beberapa macam cara proyeksi antara lain :
Proyeksi Isometri
Untuk mengetahui apakah suatu gambar diproyeksikan dengan cara isometri atau
untuk memproyeksikan gambar tiga dimensi pada bidang dengan proyeksi
isometri, maka perlu diketahui ciri-ciri dan syarat-syarat untuk menampilkan
suatu gambar dengan proyeksi isometri. Nah yang pertama kita bahas adalah
ciri-ciri proyeksi isometri Ciri-cirinya:
1. Ciri pada sumbunya :
- Sumbu x dan sumbu y mempunyai sudut 30 derejat terhadap garis mendatar
- Sudut antara sumbu yang satu dengan sumbu lainnya 120 derajat
2. Ciri pada ukurannya
Panjang gambar pada masing-masing sumbu sama dengan panjang
benda yang digambarnya
|
| Contoh Gambar Proyeksi Isometri |
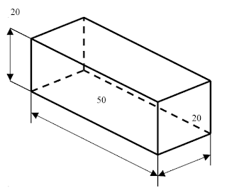
a. Penyajian Proyeksi Isometri
Penyajian gambar dengan proyeksi isometri dapat dilakukan dengan beberapa posisi (kedudukan), yaitu posisi normal, terbalik dan horizontal.
1. Proyeksi isometri dengan posisi normal
Contoh :
|
| Proyeksi isometri dengan posisi normal |
contoh
|
| Proyeksi isometri dengan posisi terbalik |
3. Proyeksi isometri dengan posisi horizontal
contoh
|
| Proyeksi isometri dengan posisi horizontal |
Proyeksi Dimetri
Pada proyeksi dimetri terdapat beberapa ciri dan ketentuan yang perlu
diketahui, ciri dan ketentuan tersebut antara lain ciri-cirinya:
1. Ciri pada sumbunya :
Pada sumbu X mempunyai sudut 10 derejat, sedangkan pada sumbu Y mempunyai sudut 40 derejat.
Keterangan :
Mari kita nonton dulu tentang proyeksi piktorial, Selamat menyaksikan.
Untuk menambah keterampilan, bisa didownload latihan menggambar proyeksi piktorial dibawah ini
1. Ciri pada sumbunya :
Pada sumbu X mempunyai sudut 10 derejat, sedangkan pada sumbu Y mempunyai sudut 40 derejat.
2. Ciri pada ukurannya
Perbandingan skala ukuran pada sumbu x = 1:1, dan skala pada
sumbu y=1:2, sedangkan pada sumbu z = 1:1
|
| Contoh Proyeksi Dimetri |
- Ukuran pada sumbu x = 40 mm
- Ukuran pada sumbu y = 20 mm ( setengahnya karena perbandingannya 1:2)
- Ukuran pada sumbu z = 40 mm
Proyeksi Miring/Oblique
Pada proyeksi miring, sumbu x berhimpit dengan garis horizontal/mendatar
dan sumbu y mempunyai sudut 45 derajat dengan garis mendatar. Skala pada
proyeksi miring sama dengan skala pada proyeksi dimetri, yaitu :
- Sumbu x = 1:1
- Sumbu y = 1:2
- Sumbu z = 1:1
|
| Proyeksi Miring/Oblique |
Proyeksi Perspektif
Dalam gambar teknik, gambar perspektif jarang dipakai. Gambar perspektif
dibagi menjadi tiga macam yaitu :
a. Perspektif dengan satu titik hilang
a. Perspektif dengan dua titik hilang
a. Perspektif dengan tiga titik hilang
|
| Proyeksi Perspektif |
Untuk menambah keterampilan, bisa didownload latihan menggambar proyeksi piktorial dibawah ini








Post a Comment for "Menerapkan Sketsa Gambar Benda Kerja 3D Sesuai Aturan Proyeksi Piktorial (KD 5)"